CEWKA SPRĘŻARKI KLIMATYZACJI HCC HS15, HS16, HS17, HS18, 98x63x63x36mm

CEWKA SPRĘŻARKI KLIMATYZACJI HCC HS15, HS16, HS17, HS18, 98x63x63x36mm

93,10 zł
75,69 zł Netto

Najniższa cena w ciągu ostatnich 30 dni: 93,10 zł z dnia 25.11.2025

Najniższa cena w ciągu ostatnich 30 dni

Ilość
Ostatnie sztuki w magazynie

Cewka elektromagnetyczna do sprężarek klimatyzacji HCC / Halla to wysokiej jakości zamiennik przeznaczony do układów klimatyzacyjnych w pojazdach marki Hyundai i Kia.
Odpowiada za załączanie sprzęgła sprężarki, zapewniając prawidłową pracę układu klimatyzacji.
Dzięki solidnej konstrukcji i precyzyjnemu wykonaniu gwarantuje niezawodność i długą żywotność.

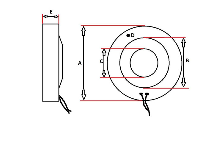
Dane techniczne:

  • Status komponentu: Zamiennik

  • Typ kompresora: HCC HS15 / HS16 / HS17 / HS18

  • Napięcie zasilania: 12 V

  • Wymiar A (śr. zewnętrzna): 98 mm

  • Wymiar B (śr. wewnętrzna): 63 mm

  • Wymiar C (śr. osadzenia): 63 mm

  • Wysokość cewki: 36 mm

Zastosowanie:

  • HYUNDAI TRAJET

  • KIA – modele ze sprężarkami HCC serii HS

Producent / Odpowiednik:
HCC / HALLA

CP.A.SP.CE.HS.045
1 szt.

Brak recenzji użytkowników.

expand_less